Bohrtechnik unter Tage - Bohrmaschinen 

 

 

 

Abbauhammer

Bohrstützengeführte Schlagbohrmaschine

Abbauhammer

Bohrstützengeführte Schlagbohrmaschine

   

Verwendung:

  • Einsatz für Hilfsarbeiten,
    • wie zur Erzgewinnung (vereinzelt),
    • Nachzerkleinerung großer Erzstücke,
    • Herstellung von Bühnlöchern,
    • Durchführung verschiedenster Spalt- und Keilarbeiten

Verwendung:

  • Eine Schlagbohrmaschine (auch Bohrhammer genannt) ist eine Maschine für das schlagende Bohren.
  • Die Druckluft-Schlagbohrmaschine ist die am häufigsten
    verwendete Maschine zum Herstellen von Sprengbohrlöchern in mittel- bis sehr festen Gesteinen.
 Legende zum Bild oben:  Legende zum Bild oben:
  • 1 Spitzeisen,
  • 2 Haltekappe,
  • 3 Einsteckende des Spitzeisens,
  • 4 Haltefeder,
  • 5 Kolbenschaft,
  • 6 Schlagkolben,
  • 7 Gehäuse,
  • 8 Steuerung,
  • 9 Handgriff mit Kipphebel,
  • 10 Drucklufteinlass,
  • 11 Luftaustritt
  • 1 Griff,
  • 2 Deckel,
  • 3 Schalldämpfer,
  • 4 Zylinder,
  • 5 Zwischengehäuse,
  • 6 Vordergehäuse,
  • 7 Druckfeder,
  • 8 Haltebügel,
  • 9 Hutmutter,
  • 10 Zugstange,
  • 11 Federschlitten,
  • 12 Stützgabel
   

Schall- und vibrationsgedämpfte 
bohrstützengeführte Schlagbohrmaschine

 Lafettengeführte Schlagbohrmaschine

   

Schall- und vibrationsgedämpfte bohrstützengeführte Schlagbohrmaschine

Lafettengeführte Schlagbohrmaschine

Verwendung: Verwendung:
  • Einsatz für Hilfsarbeiten,
    • wie zur Erzgewinnung (vereinzelt),
    • Nachzerkleinerung
    • großer Erzstücke,
    • Herstellung von Bühnlöchern,
    • Durchführung verschiedenster Spalt- und Keilarbeiten
  • Eine Schlagbohrmaschine (auch Bohrhammer genannt) ist eine Maschine für das schlagende Bohren.
  • Die Druckluft-Schlagbohrmaschine ist die am häufigsten verwendete Maschine zum Herstellen von Sprengbohrlöchern in mittel- bis sehr festen Gesteinen.
Legende zum Bild oben: Legende zum Bild oben:
  • 1 Haltebügel,
  • 2 Vordergehäuse,
  • 3 Zwischengehäuse,
  • 4 Zylinder,
  • 5 Schallkammer,
  • 6 Deckel,
  • 7 Griff,
  • 8 Stützgabel
  • 1 Deckel,
  • 2 Schalldämpfer,
  • 3 Zylinder,
  • 4 Zwischengehäuse,
  • 5 Vordergehäuse,
  • 6 Druckfeder,
  • 7 Haltebügel,
  • 8 Zugstange,
  • 9 Hutmutter
 

Schlagbohrmaschinen im Einsatz unter Tage

Schlagbohrmaschinen im Einsatz unter Tage

   

 Bohrgeräteträger

sind Einrichtungen zum Halten und Führen von Bohrmaschinen, zum Erzeugen der Vorschubkraft sowie zur Aufnahme der beim Bohren entstehenden Drehmomente.
   

Pneumatische Bohrstütze    

Teleskopbohrmaschine  

Pneumatische Bohrstütze

Teleskopbohrmaschine

Verwendung:

  • Verwendung zum Bohren im Überhauenvortrieb

Verwendung:

  • Verwendung zum Bohren im Überhauenvortrieb
   

Legende zum Bild oben:

  • 1 Einsteckbolzen,
  • 2 Druckluftanschluss,
  • 3 Ventilhebel,
  • 4 Ratenventil,
  • 5 Teleskopzylinder,
  • 6 Tragegriff,
  • 7 Fußstützen

Legende zum Bild oben:

  • 1 Spannmutter,
  • 2 Spannschraube,
  • 3 Bohrmaschine,
  • 4 Drehgriff,
  • 5 Druckknopf zur Entlüftung der Stütze,
  • 6 Anlasshebel für Vorschub,Spülung und Bohrmaschine,
  • 7 Teleskopbohrstütze
   

Bohrsäulen für das schlagende Bohren

Bohrmaschine mit Bohrstütze

Bohrsäulen für das schlagende Bohren

Bohrmaschine mit Bohrstütze

Verwendung:  

Die Bohrsäule ist ein Bohrgeräteträger, der zum Bohren zwischen Sohle und Firste verspannt wird.

  • Der Vorteil
    • liegt in der Trennung des Menschen von der Bohrmaschine
    • und dem damit verbundenen Schutz vor Schäden durch mechanische Schwingungen
    •  
    •  
    • und dem Erreichen eines gleichmäßigen Vorschubes
  • Nachteilig
    • ist, dass der Auf- und Abbau mit schwerer körperlicher Arbeit verbunden war.

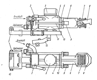
Die Abbildung oben

  • zeigt die Bohrmaschine mit Bohrstütze in 2 Varianten:
    • a) bei Zentralspülung
    •  
    • b) bei Seitenspülung

Legende zum Bild oben:

  • 1 Bohrmaschine,
  • 2 Lafette,
  • 3 Verlängerungsstück,
  • 4 Spannsäule,
  • 5 Schwenkeinrichtung,
  • 6 Gleitstück,
  • 7 Höhenverstellung,
  • 8 Druckluftspreize mit Hubzylinder

Legende zum Bild oben:

  • 1 Schlagbohrmaschine,
  • 2 Bohrstütze,
  • 3 Zentralöler,
  • 4 Spülkopf